Der Quarz sollte so nah wie möglich am IC platziert werden. Sofern möglich, kann das Gehäuse mit GND verbunden werden. Ein Via-Zaun um den Quarz reduziert das Überkoppeln in die GND-Lage. Alternativ kann auch ein Oszillator eingesetzt werden.
Klasse 1 Keramiken (NP0) bieten einen geringen Leckstrom und zeigen keine Kapazitätsveränderung durch Temperatureinflüsse. Die Angegebene Lastkapazität (Cload) beinhaltet die Streukapazität der Leiterplatte und des IC Pins:
CL = (C1*C2) / (C1+C2) + Cstray
Cstray ≈ 3…6pF
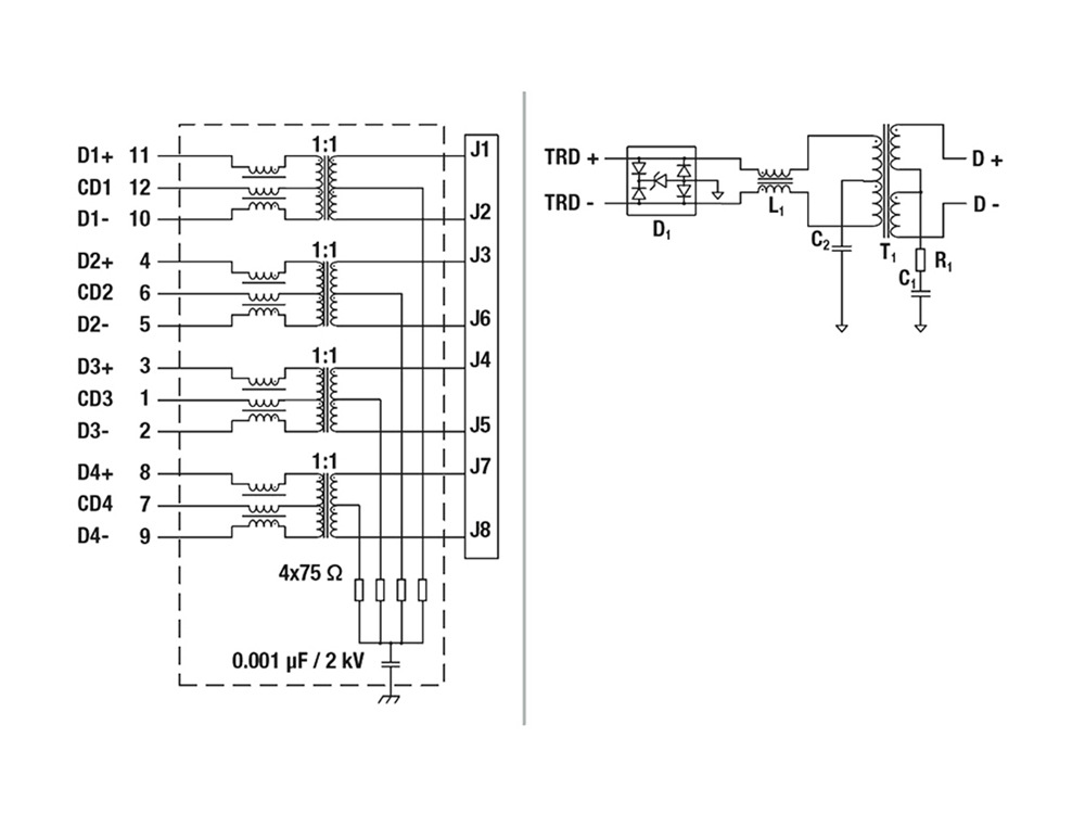
Bei 100BASE-T1 Applikationen ist eine stromkompensierte Drossel zur Entstörung in Frequenzen bis 200 MHz nötig.
Trotz der galvanischen Trennung der Schnittstelle wird ein ESD-Schutz benötigt. Super Speed TVS werden empfohlen, um die Signalintegrität zu erhalten. Kurze, niederimpedante Leiterzüge ohne Lagen-Sprünge sind zu bevorzugen.
Dieser Kondensator sorgt durch HF-Symmetrierung der Mittelanzapfung des Übertragers für eine höhere Gleichtaktunterdrückung.
Der Standard fordert mindestens 1.5 kV AC Isolationsspannung. Dadurch sind 2 kV MLCCs nicht ausreichend.
Dieser Kondensator leitet Common Mode Störer gegen das Bezugspotential ab. Da der Kondensator als DC-Block wirkt, wird eine Spannungsfestigkeit von 2kV gewählt, um einen ungewollten Potentialausgleich und eventuelle Beschädigungen des Bauteils zu vermeiden.
Single Pair Ethernet benötigt nach IEC 62368-1 eine Isolation von 1.5 kV. Die STST-Serie verbindet eine hervorragende Performance hinsichtlich Return Loss und Mode Conversion-Loss mit einer sehr kompakten Bauform von nur 4.5 x 3.2 mm.
Diese Kondensatoren verbessern die Einfüge- und Rückflussdämpfung. Alternativ kann auch ein Kondensator am Center Tap vorgesehen werden, um den Gleichstromanteil bei PoDL-Anwendungen zu blocken.
Diese Kondensatoren verbessern die Einfüge- und Rückflussdämpfung. Alternativ kann auch ein Kondensator am Center Tap vorgesehen werden, um den Gleichstromanteil bei PoDL-Anwendungen zu blocken.
Die GND-Lage unter dem Quarz sollte mit der unter dem IC verbunden sein und alle Traces dazwischen abdecken.
Eine kapazitive Anbindung des Kabelschirms und der Platinenmasse gegen das Gehäuse reduziert Gleichttaktstörer in beide Richtungen.
Ethernet stellt eine weit verbreitete Schnittstelle für kabelgebundene Netzwerke dar.
Durch den Standard Single Pair Ethernet (SPE) mit Reichweiten bis zu 1000 m sind viele neue Anwendungsfälle möglich, um analoge Sensoranwendungen oder industrielle Bussysteme zu ersetzen.
SPE bietet zudem Vorteile hinsichtlich der mechanischen Stabilität der Steckverbinder und Platzbedarf auf der Leiterplatte.
Das Netzwerk ist ein gleichberechtigter Zusammenschluss von Unternehmen, welche die Single Pair Ethernet Technologie als Grundlage für ein schnelles und erfolgreiches Wachstum des IIoT (Industrial Ethernet of Things) vorantreiben.
One Pair is all you need
One Pair is all you need
Das Single Pair Ethernet steht für eine neue Art der Datenübertragung. Im Unterschied zum Multipair Ethernet werden nur zwei Adern gebraucht. Die geringe Anzahl an Leitungen sorgt für dünnere Kabeldurchmesser und spart Kosten.
Durch die Nutzung von nur einem Leitungspaar reduziert sich die Anzahl der passiven Bauelemente auf der Leiterplatte stark. Zusammen mit dem im Vergleich zum RJ45 sehr kompakten Steckverbinder lässt sich mit Single Pair Ethernet im Vergleich zum bisherigen Ethernet bis zu 75% der Fläche auf der Leiterplatte einsparen.
Multi Pair Ethernet vs. Single Pair Ethernet
Kleiner Kabeldurchmesser und 30 % Gewichtsverlust
Deutlich geringerer Platzverbrauch auf der Platine
Ähnlich wie für Ethernet über vier Adernpaare ist auch für Single Pair Ethernet eine Isolation nach IEC 62368-1 (alt IEC 60950) vorgeschrieben. Kondensatoren mit 50 Volt galvanischer Trennung gelten fast ausschließlich nur für Automotive-Ethernet-Anwendungen und reichen nicht für Industrieapplikationen aus.
Die gute Nachricht: Die galvanische Trennung bei Multi Pair Ethernet ist sehr leicht durch Signalübertrager zu lösen. Unsere WE-STST Übertrager Serie verbindet hier eine hervorragende Performance mit einer sehr kompakten Bauform von nur 4.5 x 3.2 mm.
Durch die Möglichkeit der Transformer-Mittelanzapfung zu GND werden auch Common Mode Signale effektiv abgeleitet.








